常見問題
價格方案
常見問題
登入
arrow_back_ios
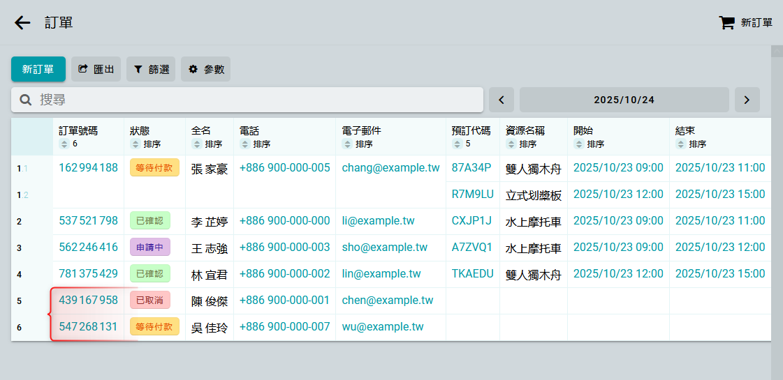
可以從表格中刪除訂單嗎?
訂單無法刪除。 不過,您可以將訂單中的所有預訂移除,這樣該訂單就會從表格中消失。
您只能在表格檢視中查看沒有任何預訂的訂單詳細資料。 在
行事曆檢視
中,這些資訊無法顯示,因為該檢視設計是用來顯示預訂,而此情況下並沒有任何預訂。
若要顯示空訂單,請確保在表格中至少新增一個包含訂單資料的欄。 這是因為對於這些訂單,所有預訂相關的欄位都會是空的。 您可以在
這裡
了解如何新增欄位。
另外,請確保您正在顯示
於時段內建立
的訂單。 或者,您也可以選擇
永遠
。
這就是表格中顯示空訂單的樣子。